防爆圓型接線盒 
產品特色
1. 使用環境於油氣、瓦斯氣或爆炸性氣體等場所。
2. TS防爆認證,防爆規格標示:Ex d IIC Gb Ex tb IIIC Db。
3. 依據標準:CNS 3376-0:2014 /IEC 60079-0:2011;CNS3376-1:2008 / IEC60079-1:2014;
IEC 60079-31:2013。
4. 主要組成:本體、上蓋、O型環。
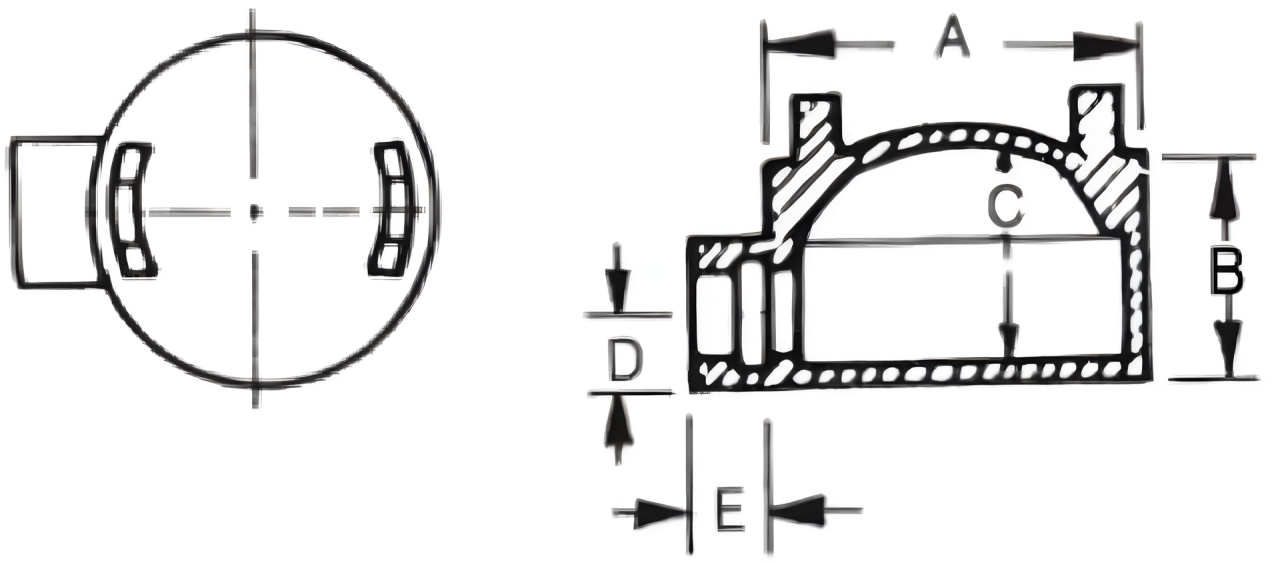
主要組成:本體
/ GA型(一孔) /
尺寸:1/2"、3/4"、1"、1-1/4"、1-1/2"、2"、2-1/2"、3"
材質:空白=鑄鐵合金;M=可鍛鑄鐵;D=球墨鑄鐵;S=SUS304不鏽鋼;S6= SUS316不鏽鋼;A=鋁合金
檢定合格型式:GA-○○○○系列
單位:±3mm
規格 Size(IN)
|
尺寸(mm) |
A |
B |
C |
D |
1/2" |
90 |
57 |
18 |
22 |
3/4" |
90 |
60 |
18 |
22 |
1" |
90 |
67 |
23 |
23 |
1-1/4" |
108 |
73 |
30 |
23 |
1-1/2" |
145 |
106 |
32 |
30 |
2" |
145 |
106 |
35 |
30 |
2-1/2" |
145 |
123 |
50 |
35 |
3" |
175 |
141 |
58 |
43 |
(尺寸表僅供參考;實際尺寸以實體為主)
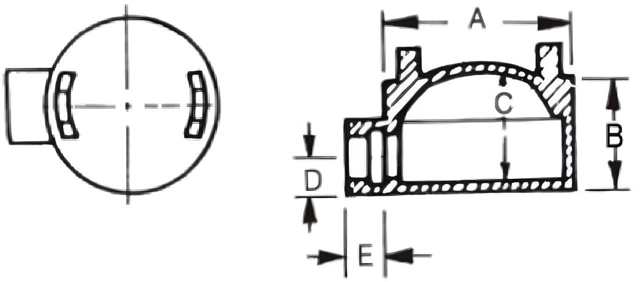
/ GC型(二孔直線) /
尺寸:1/2"、3/4"、1"、1-1/4"、1-1/2"、2"、2-1/2"、3"
材質:空白=鑄鐵合金;M=可鍛鑄鐵;D=球墨鑄鐵;S=SUS304不鏽鋼;S6= SUS316不鏽鋼;A=鋁合金
檢定合格型式:GC-○○○○系列
單位:±3mm
規格 Size(IN)
|
尺寸(mm) |
A |
B |
C |
D |
1/2" |
90 |
57 |
18 |
22 |
3/4" |
90 |
60 |
18 |
22 |
1" |
90 |
67 |
23 |
23 |
1-1/4" |
108 |
73 |
30 |
23 |
1-1/2" |
145 |
106 |
32 |
30 |
2" |
145 |
106 |
35 |
30 |
2-1/2" |
145 |
123 |
50 |
35 |
3" |
175 |
141 |
58 |
43 |
(尺寸表僅供參考;實際尺寸以實體為主)
/ GL型(二孔L) /
尺寸:1/2"、3/4"、1"、1-1/4"、1-1/2"、2"、2-1/2"、3"
材質:空白=鑄鐵合金;M=可鍛鑄鐵;D=球墨鑄鐵;S=SUS304不鏽鋼;S6= SUS316不鏽鋼;A=鋁合金
檢定合格型式:GL-○○○○系列


單位:±3mm
規格 Size(IN)
|
尺寸(mm) |
A |
B |
C |
D |
1/2" |
90 |
57 |
18 |
22 |
3/4" |
90 |
60 |
18 |
22 |
1" |
90 |
67 |
23 |
23 |
1-1/4" |
108 |
73 |
30 |
23 |
1-1/2" |
145 |
106 |
32 |
30 |
2" |
145 |
106 |
35 |
30 |
2-1/2" |
145 |
123 |
50 |
35 |
3" |
175 |
141 |
58 |
43 |
(尺寸表僅供參考;實際尺寸以實體為主)
/ GT型(三孔T) /
尺寸:1/2"、3/4"、1"、1-1/4"、1-1/2"、2"、2-1/2"、3"
材質:空白=鑄鐵合金;M=可鍛鑄鐵;D=球墨鑄鐵;S=SUS304不鏽鋼;S6= SUS316不鏽鋼;A=鋁合金
檢定合格型式:GT-○○○○系列


單位:±3mm
規格 Size(IN)
|
尺寸(mm) |
A |
B |
C |
D |
1/2" |
90 |
57 |
18 |
22 |
3/4" |
90 |
60 |
18 |
22 |
1" |
90 |
67 |
23 |
23 |
1-1/4" |
108 |
73 |
30 |
23 |
1-1/2" |
145 |
106 |
32 |
30 |
2" |
145 |
106 |
35 |
30 |
2-1/2" |
145 |
123 |
50 |
35 |
3" |
175 |
141 |
58 |
43 |
(尺寸表僅供參考;實際尺寸以實體為主)
/ GX型(四孔X) /
尺寸:1/2"、3/4"、1"、1-1/4"、1-1/2"、2"、2-1/2"、3"
材質:空白=鑄鐵合金;M=可鍛鑄鐵;D=球墨鑄鐵;S=SUS304不鏽鋼;S6= SUS316不鏽鋼;A=鋁合金
檢定合格型式:GX-○○○○系列


單位:±3mm
規格 Size(IN)
|
尺寸(mm) |
A |
B |
C |
D |
1/2" |
90 |
57 |
18 |
22 |
3/4" |
90 |
60 |
18 |
22 |
1" |
90 |
67 |
23 |
23 |
1-1/4" |
108 |
73 |
30 |
23 |
1-1/2" |
145 |
106 |
32 |
30 |
2" |
145 |
106 |
35 |
30 |
2-1/2" |
145 |
123 |
50 |
35 |
3" |
175 |
141 |
58 |
43 |
(尺寸表僅供參考;實際尺寸以實體為主)
▲型錄規格及外觀與實機不符,以實機為準。本公司保留修改此規格及外觀之權利更改後本公司不另行通知。