防爆密封接頭 
產品特色
1. 使用環境於油氣、瓦斯氣或爆炸性氣體等場所。
2. TS防爆認證,防爆規格標示:Ex d II Gb
Ex tD A21 Db
3. 依據標準:CNS 3376-0:2014 / IEC 60079-0:2011;CNS3376-1:2008 / IEC60079-1:2014;CNS 15591-0:2012 / CNS 15591-1:2012
主要組成:本體
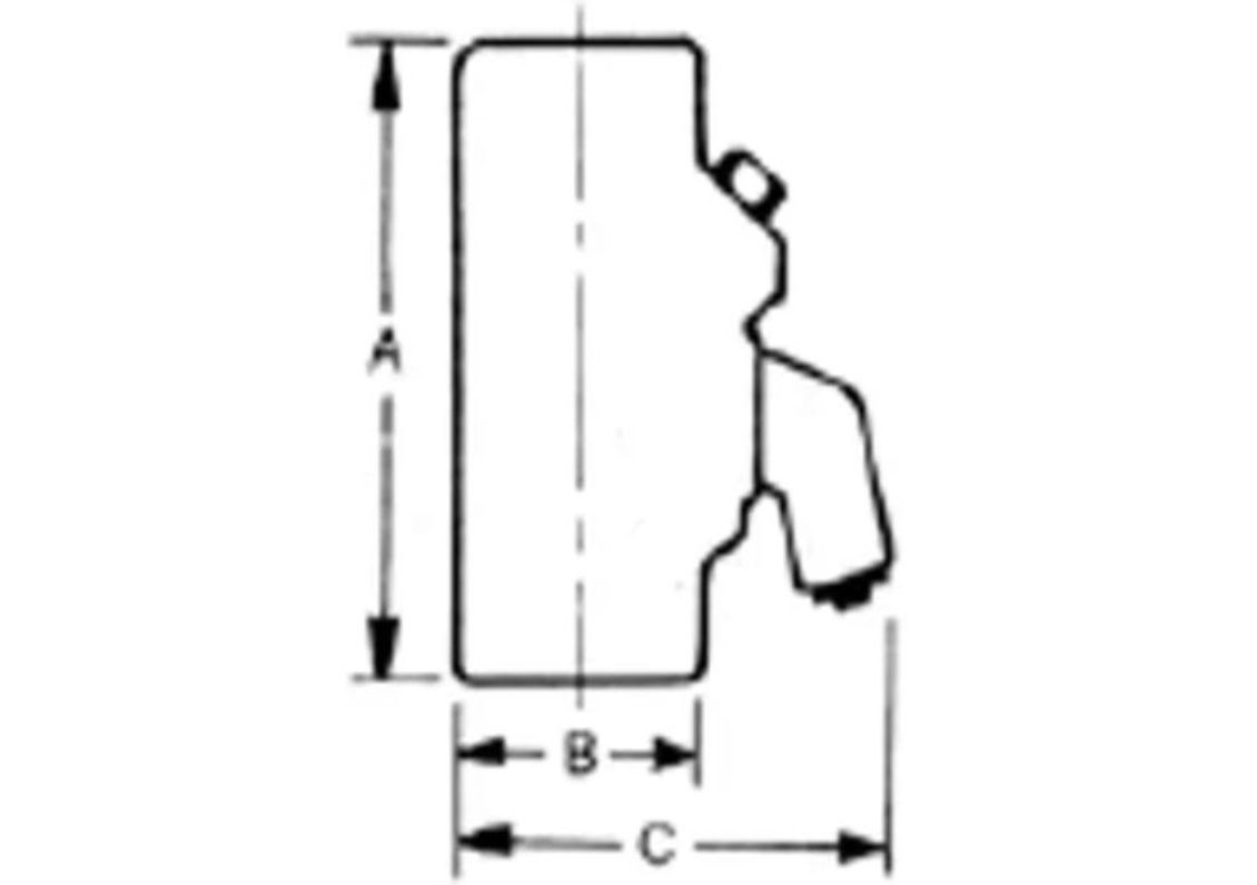
/ EYD型 /
尺寸:1/2"、3/4"、1"、1-1/4"、1-1/2"、2、2-1/2、3"、4"。
材質:鑄鐵合金
檢定合格型式:EYD-○○○系列
排放栓另購 : 1/2"~1"、1-1/4"~4"
單位:±3mm
規格 Size(IN)
|
尺寸(mm) |
A |
B |
C |
1/2" |
85 |
31 |
41 |
3/4" |
94 |
38 |
48 |
1" |
112 |
46 |
60 |
1-1/4" |
130 |
53 |
84 |
1-1/2" |
144 |
61 |
85 |
2" |
164 |
78 |
114 |
2-1/2" |
195 |
90 |
120 |
3" |
213 |
109 |
138 |
4" |
250 |
134 |
164 |
(尺寸表僅供參考;實際尺寸以實體為主)
/ EYS型 /
尺寸:1/2"、3/4"、1"、1-1/4"、1-1/2"、2"、2-1/2"、3"、4"。
材質:鑄鐵合金
檢定合格型式:EYS-○○○系列
出貨標準凹塞,凸塞另購。
單位:±3mm
規格 Size(IN)
|
尺寸(mm) |
A |
B |
C |
1/2" |
84 |
31 |
41 |
3/4" |
95 |
38 |
48 |
1" |
111 |
46 |
60 |
1-1/4" |
129 |
53 |
45 |
1-1/2" |
144 |
61 |
52 |
2" |
164 |
78 |
59 |
2-1/2" |
195 |
90 |
68 |
3" |
216 |
107 |
84 |
4" |
250 |
130 |
94 |
(尺寸表僅供參考;實際尺寸以實體為主)
/ EYM型 /
尺寸:1/2"、3/4"、1"、1-1/4"、1-1/2"、2"、2-1/2"、3"、4"。
材質:鑄鐵合金
檢定合格型式:EYM-○○○系列
出貨標準凸塞,凹塞另購。
單位:±3mm
規格 Size(IN)
|
尺寸(mm) |
A |
B |
C |
1/2" |
84 |
31 |
41 |
3/4" |
95 |
38 |
48 |
1" |
111 |
46 |
60 |
1-1/4" |
129 |
53 |
45 |
1-1/2" |
144 |
61 |
52 |
2" |
164 |
78 |
59 |
2-1/2" |
195 |
90 |
68 |
3" |
216 |
107 |
84 |
4" |
250 |
130 |
94 |
(尺寸表僅供參考;實際尺寸以實體為主)
▲型錄規格及外觀與實機不符,以實機為準。本公司保留修改此規格及外觀之權利更改後本公司不另行通知。